Reklama

Nowy patent Stellantisa. Pierwszy na świecie układ wydechowy dla aut elektrycznych

Grupa Stellantis złożyła w USA zaskakujący wniosek patentowy. Chodzi o układ wydechowy do samochodów elektrycznych.

Publikacja: 15.03.2025 16:50

W przyszłości elektryczne modele mogą posiadać specjalny układ wydechowy

W przyszłości elektryczne modele mogą posiadać specjalny układ wydechowy

Foto: mat. prasowe

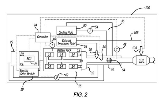
Do tej pory znane są układy wydechowe do samochodów z napędem spalinowym. Stellantis jest przekonany, że samochody elektryczne w pewnych okolicznościach także wytwarzają coś w rodzaju spalin i w związku z tym wymagają układu wydechowego. W tym celu złożony został wniosek patentowy - „Układ wydechowy do samochodów elektrycznych”, który został opublikowany przez Urząd Patentów i Znaków Towarowych Stanów Zjednoczonych (USPTO).

Czytaj więcej

Rewolucja w silnikach elektrycznych. Napęd zabudowany w kołach
Układ wydechowy dla elektryka opatentowany przez koncern Stellantis

Układ wydechowy dla elektryka opatentowany przez koncern Stellantis

Foto: mat. prasowe

O co w tym wszystkim chodzi? Wielostronicowy dokument patentowy Stellantisa opisuje sytuację, w której baterie się przegrzeją, czy też bardziej fachowo - nastąpi niekontrolowany wzrost temperatury w wyniku wypadku lub poważnego uszkodzenia - mogą uwolnić się łatwopalne gazy. Gazy te mogą zawierać wodór oraz węglowodory, takie jak metan, etan, etylen, acetylen, propan i butan i mogą zapalić się. Według Stellantisa, takiego pożaru można zapobiec usuwając gazy z akumulatora na zewnątrz. Innymi słowy jeśli monitorowane przez elektronikę systemu zarządzania bateriami zawiedzie i nie spiszą się również wszystkie inne systemy bezpieczeństwa montowane w samochodach elektrycznych, to wtedy może przydać się opisany w dokumencie patentowym układ wydechowy. Nawet sam Stellantis twierdzi, że wydech powinien być użyty wyłącznie w wyjątkowo rzadkich przypadkach, ale koncern czyni wszystko dla zwiększenia bezpieczeństwa pasażerów.

Układ wydechowy dla elektryków we wszystkich markach Stellantisa

Stellantis chce w przyszłości użyć swój patent we wszystkich elektrycznych modelach marek Citroën, Fiat, Opel, Peugeot, Abarth, Ram, Dodge, Chrysler, Jeep, Lancia, DS, Alfa Romeo i Maserati. Elektryki budowane są na czterech nowych modułowych platformach STLA Stellantisa, a układ wydechowy bez problemu mieści się w każdej z nich.

Reklama
Reklama

Do tej pory znane są układy wydechowe do samochodów z napędem spalinowym. Stellantis jest przekonany, że samochody elektryczne w pewnych okolicznościach także wytwarzają coś w rodzaju spalin i w związku z tym wymagają układu wydechowego. W tym celu złożony został wniosek patentowy - „Układ wydechowy do samochodów elektrycznych”, który został opublikowany przez Urząd Patentów i Znaków Towarowych Stanów Zjednoczonych (USPTO).

Reklama
Na prąd
General Motors niespodziewanie koryguje kurs. Priorytetem znów silniki spalinowe
Materiał Promocyjny
W poszukiwaniu nowego pokolenia prezesów: dlaczego warto dbać o MŚP
Na prąd
Elektryki z Chin jednak z dopłatą. Rząd zmienia zasady programu „NaszEauto”
Na prąd
Nowy BMW iX3 rozchodzi się jak świeże bułeczki. Kto nie zamówi teraz, poczeka do 2027 r.
Na prąd
Koniec przywilejów dla elektryków. Norwegia mówi „dość” dotacjom
Materiał Promocyjny
Stacje ładowania dla ciężarówek pilnie potrzebne
Na prąd
Miliard złotych bez odbiorców. Rozczarowanie systemem subsydiów do ciężarówek elektrycznych
Materiał Promocyjny
Prawnik 4.0 – AI, LegalTech, dane w codziennej praktyce
Reklama
Reklama